תיקון חשמל

הבנת אופן החיווט של הבית שלך יכולה לעזור לך כשמגיע הזמן לבצע תיקונים קלים או לתכנן פרויקט שיפוצים. הנה כל מה שעל בעל בית לדעת על חשמל.

טריקים לשיפוץ חשמל, טיפים ופריצות

כיצד למשוך חוט חשמל או כבל דרך צינור?

מתי להשתמש במתכת או בתיבת חשמל מפלסטיק?

חיווט חשמלי הדרוש לחדר אמבטיה

מהו מפסק ראשי?

מתי אתה צריך אישור לפרויקט השיפוצים שלך?

דרישות מעגלים חשמליים למטבחים

סימני אזהרה למתג קיר פגום

כיצד להחליף מפסק?

כיצד להתקין מפסק קרקע?

בחירת אגוזי החוט הנכונים לחיבורי חשמל

בדיקת שקעים עם בודק מתח

כיצד להשתמש במסור אריחים רטוב?

כיצד להשתמש בהתאמת היקי בתליית נברשת?

מדריך למפסק יחיד

כיצד לטפל בבעיות בתקלות קרקע?

יסודות חשמל ביתיים 101

כיצד להתקין תנור בסיס?

מהו לוח מפסקים?

4 סיבות מדוע מפסקים מפסקים ונתיכים מפוצצים

כיצד ניתן להסיר מפסק בבטחה?

גבהים מתאימים למתגי קיר חשמליים

גובה פינוי בטוח לקווי חשמל תקורה

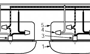
הכל על סוגי חיווט חשמל, גדלים והתקנה

כללי קוד חשמל לאומי (NEC) לחיווט חוץ

כיצד לחבור חוט חשמל?

כיצד להתקין גלאי עשן קשיחים?

מדריך לפתלי הברגה

כיצד לתקן את מהדקי האביב של אורות שקועים?

מה פירוש המושג "מחוספס"?

דרישות קוד חשמל לפי חדר

דרישות קוד חשמל לשקעי שקע

תקלות קרקע לעומת קצר חשמלי: מה ההבדל?

קיבול GFCI לעומת מפסק GFCI: מה ההבדל?

מה גורם לקצר חשמלי?

טיפים להתקנת קופסאות חשמל

הבנת המונחים "קו" ו"עומס "במערכות חשמל

הבנת הארקה בחיווט הביתי

כיצד לכופף צינור EMT?

חיבור כבל החשמל לטווח חשמלי

חישוב קיבולת עומס חשמלית לבית

מערכת קידוד צבע חיווט חשמלי

התאמת גודל החוט לתחום המעגל

FacebookTwitterInstagramPinterestLinkedInGoogle+YoutubeRedditDribbbleBehanceGithubCodePenWhatsappEmail