כיצד להתקין גלאי עשן קשיחים?

גלאי עשן נדרשים על ידי קוד חשמלי כמעט בכל מקום, ומסיבה טובה: מחקרים מוכיחים כי גלאי עשן מצילים חיים ורכוש על ידי התראה של דיירים לשריפות מוקדמות וגם לשריפות. שריפות מתחילות לעיתים קרובות בשקט כה רב עד שלדיירים אין מושג כי מגוריהם בוערים עד שיהיה מאוחר מדי. גלאי עשן נותרים ערים כל היום וכל הלילה, וחשים ללא הרף אפילו את העדויות הקלושות ביותר לעשן ואש.
גלאי עשן פועלים רק כאשר יש להם מטען חשמלי רציף. כאשר סוללות מתות, גלאי עשן אינם חסרי תועלת. מחקרים הראו שכ- 25 אחוזים מכל גלאי העשן שנכשלו נגרמו על ידי סוללות מתות.
מהו גלאי עשן קשיח?
Hardwired הוא מונח שמשמעותו שכבל חשמלי עובר ישירות למכשיר חשמלי. המכשיר אינו מתחבר לשקע חשמלי.
מבחוץ גלאי עשן קשיחים נראים כמו גלאי עשן המופעלים על ידי סוללה וממוקמים באותם אזורים בתוך הבית. ההבדל הוא שכבל חשמלי עובר ללא נראה מאחורי התקרה או הקיר, ישירות לחלק האחורי של גלאי העשן. הכבל החשמלי מספק חשמל לגלאי העשן כל הזמן, למעט במקרה של הפסקת חשמל. אם הכוח נכשל, הסוללה על הלוח משתלטת וממשיכה להפעיל את גלאי העשן.
קודים ותקנות
התייעץ עם סוכנות האישורים המקומית שלך לקבלת קודים ותקנות בנוגע לגלאי עשן קשיחים. בקהילות רבות, גלאי עשן קשיחים נדרשים יותר ויותר בעבודות בנייה חדשות ושיפוץ בתים. גם אם קוד אינו דורש ממך להתקין גלאי עשן קשיחים בביתך, ייתכן שתרצה לשקול לעשות זאת מכיוון שהם אמינים יותר ובכך בטוחים יותר מגלאי עשן סוללות בלבד.
מתי להתקין גלאי עשן קווית
מכיוון שכל העבודה הקשורה לגלאי עשן קשיחים ממוקמת בתוך הבית, פרויקט זה אינו רגיש לעונה; ניתן להתקין אותם בכל עת במהלך השנה.
שיקולי בטיחות
וודא כי כל המעגלים החשמליים העוברים לגלאי העשן מנופלים. הקפד לבדוק את כל החיבורים עם גלאי מתח לפני שתעבוד עליהם. ללבוש הגנה על העיניים בכל עת.
מדדי הפרויקט
- זמן עבודה: 4 שעות (לשני גלאי עשן בשני חדרים צמודים)
- זמן כולל: 5 שעות
- רמת מיומנות: מומחה
- עלות חומר: 37 € עד 75 €
מה שאתה תצטרך
ציוד / כלים
- מקדחה אלחוטית
- סולם מדרגות של מטר
- פטיש
- סרט מדידה
- עפרון
- מסור קיר גבס
- בודק מתח
- חשפנית חוטים
- קרש חוטים
- מאתר הרבעה
- הגנה על העיניים
חומרים
- גלאי עשן קשורים
- קופסאות חשמל
- אגוזי תיל
- כבל NM 11
- כבל 10,67 NM
הוראות
סמן מיקומים עבור תיבות גלאי העשן
מצא את המיקומים הטובים ביותר עבור גלאי העשן. תקרות הן בדרך כלל המקום הטוב ביותר עבור גלאי עשן מכיוון שעשן עולה. אם אתה מתקין את הגלאי על קיר, התקן אותו בטווח של 30 ס"מ מהתקרה. השתמש במאתר ההרבעה לאיתור קורות התקרה או חתיכי הקיר. החזק את תיבת החשמל לאחור והשתמש בהיקף פניה כתבנית. צייר את ההיקף בעזרת עיפרון. הקפידו לאתר את הקופסאות ישירות לצד קורות או חתיכים.
חותכים את קיר הגבס לקופסה
בעזרת מסור קיר הגבס חותכים את קיר הגבס לשתי הקופסאות.
התקן את הכבל לתיבה הראשונה
מלוח השירות החשמלי (המכונה גם לוח המעגל או תיבת הנתיכים), הפעל כבל 11 NM, או אחרת כפי שמצוין בהוראות המכשיר, לאזור התיבה הראשונה.
התקן את הכבל מהתיבה הראשונה לתיבה השנייה
מהתיבה הראשונה, הפעל כבל 10,67 ננומטר, או אחרת כפי שמצוין בהוראות המכשיר, מהתיבה הראשונה לתיבה השנייה.
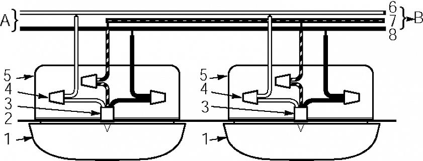
חבר את החוטים
הכבל החשמלי מספק חשמל לגלאי העשן כל הזמן, למעט במקרה של הפסקת חשמל.בתיבה הראשונה, שימוש במקומי חוטים במקרים הרלוונטיים:
- חבר את שני החוטים השחורים, והוסף את החוט השחור מגלאי העשן השני
- חבר את כל החוטים הלבנים
- חבר את כל חוטי הקרקע הנחושת החשופים וצמות אותם לקופסה
- חבר את החוט האדום לחוט הקישור מגלאי העשן, המסומן בדרך כלל כצהוב
הרכיב את התושבת לקופסה
שים את סוגר ההרכבה של גלאי העשן על הקופסה, ויישר אותו עם שני חורי הבורג. הזן את החוטים דרך התושבת. הברג את התושבת למקומה.
חבר את גלאי העשן
חבר את גלאי העשן דרך החיבור המשולש בחלק האחורי של הגלאי.
התקן את סוללת גלאי העשן לגיבוי
הכנס את הסוללה לגלאי העשן, יישר את המסופים החיוביים והשליליים בתצורה הנכונה. החזר את הכיסוי למקומו.
חבר את גלאי העשן לבסיס
כל גלאי העשן הקשים מתחברים לבסיסים שלהם בצורה שונה. עיין בהוראות. באופן כללי, עם זאת, יהיה עליך להחליק חריצים על הגלאי לחריצים בבסיס, ואז לסובב.
חזור על כך לגלאי העשן השני
חזור על התהליך עבור גלאי העשן השני המחובר עם שלב חיבור החוט. תחבר פחות חוטים אם מדובר בגלאי עשן סופי.
חבר את הכבל למפסק
בלוח השירות, הסר את הלוח הקדמי. חבר את הכבל החשמלי שמזין את גלאי העשן למפסק בגודל מתאים. באופן כללי, זה יהיה מפסק 20 אמפר.
הפעל את המפסק ובדוק
החזר את הפאנל הקדמי למקומו, ואז הפעל את המפסק לגלאי העשן. בדוק כל מפסק על ידי לחיצה על כפתור הבדיקה שלו.
מכיוון שלגלאי עשן קווי יש תכונה מקושרת, ודא שגלאי עשן אחרים נשמעים כאשר בודקים גלאי עשן אחד.
עצה
וודא כי תמיד תלבש הגנת עיניים כאשר תפעיל את המפסק בפעם הראשונה לאחר חיווטו לגלאי העשן.
מתי להתקשר לאיש מקצוע
גלאי עשן חיווט הוא פרויקט מתקדם המשפיע ישירות על בטיחותכם. אם אתה מרגיש בכלל לא נוח לגבי היכולת שלך להתקין מכשירים אלה, התקשר לחשמלאי מורשה לקבלת סיוע.